neprihlásený Sobota, 28. februára 2026, dnes má meniny Zlatica
Apple chce tenšie pánty MacBookov z nasekaného kovu

DSL.sk, 26.8.2013


Spoločnosť Apple si v prvom štvrťroku tohto roka podala žiadosť o patent na technológiu výroby ohybného mechanizmu z pevného materiálu, ktorý je možné použiť ako ohybný kryt ale tiež pánty.

Mechanizmus má mať potenciálne niektoré vlastnosti lepšie ako pánty alebo iné ohybné materiály a napríklad môže umožniť vytvorenie tenších pántov alebo ohybnejších ale stále pevných obalov.

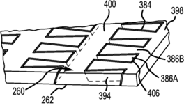
Technológia je založená na rozsekaní pevného materiálu podľa segmentačného vzoru, s prípadným vyseknutím niektorých častí. Pre do seba zapadajúce tvary susedných segmentov sa materiál nerozpadne, stáva sa ale flexibilným. Miera flexibility a tuhosť výsledného mechanizmu závisia najmä na použitom segmentovaní a segmentačnom vzore.

Použitým základným materiálom môže byť kov ale tiež ďalšie materiály, výroba sa môže podľa Apple realizovať napríklad laserom.

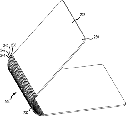
V patente Apple navrhuje použitie nového mechanizmu napríklad v podobe flexibilnejšieho krytu pre tablety alebo ohybnej koncovky slúchadiel.

Technológia zároveň umožňuje spraviť flexibilnou iba časť materiálu, ktorá sa segmentuje. Ako príklad takéhoto použitia Apple uvádza vytvorenie tela notebooku z jedného kusu materiálu, v ktorého strede by bola vytvorená flexibilná časť slúžiaca namiesto klasických pántov.


Použitie nového mechanizmu ako pántu (obrázok: Apple)



V patentovej prihláške Apple demonštruje niekoľko typov vzorov segmentácie, im výsledné vlastnosti a parametre detailne nepopisuje.


Ďalšie použitia nového mechanizmu (obrázok: Apple)



Či spoločnosť technológiu v skutočnosti aj vyvíja pre reálne nasadenie respektíve v akej fáze vývoja v súčasnosti je nie je známe.


Niektoré z navrhovaných vzorov (obrázok: Apple)



Na patentovú prihlášku zverejnenú minulý týždeň upozornil PatentlyApple, kompletnú prihlášku je možné nájsť na Petapator.com.



Najnovšie články:

NASA opäť posunula termín pristátia posádky na Mesiaci
Samsung údajne na Slovensku ukončí výrobu TV
Týždeň po zemetrasení bolo počuť opäť výbuch, zrejme kvôli letu F-16
Netflix nezíska HBO, ukončil boj s Paramountom
Smartfóny v tomto roku výrazne zdražia, predá sa ich oveľa menej
Nový Samsung Galaxy má displej so zabudovanou ochranou súkromia
Košice schválili pravidlá pre balíkomaty
NASA úspešne presunula raketu SLS do hangáru, trvalo to viac ako 10 hodín
Podpora viacerých LTS verzií linuxového jadra predĺžená, už neskončí naraz
EÚ roaming sa má rozšíriť do viacerých krajín na Balkáne


Diskusia:
                               
 

pekne :)
Odpovedať Známka: -2.6 Hodnotiť:
 

mne sa to nepaci
Odpovedať Známka: 2.9 Hodnotiť:
 

uz dopredu viem ze to bude mat vydrz asi tak rok a pol potom to bude dodrbane
Odpovedať Známka: 3.1 Hodnotiť:
 

kerý orgáč lúbite najvác - piččkový, frajtrový a či ceckový ?
Odpovedať Známka: -6.1 Hodnotiť:
 

je to patent akurat tak na panty, moja starka chova sliepky a tie dvierka na kurine uz dosluhuju, takze by som jej kupil taketo panty, urcite by bola spokojna a sliepky tiez
Odpovedať Známka: 8.0 Hodnotiť:
 

a starka mala stare panty patentovane?
Odpovedať Známka: 0.0 Hodnotiť:
 

genialne laptop z jedneku ohybneho kusu kovu. Preco s takmito vydobitkami nepride konence samsung. Jediny kto tu skutocne tvori je Apple preto davam LIKE na tento patent
Odpovedať Známka: -4.6 Hodnotiť:
 

co je to LIKE?

nieco ako NIKE?
Odpovedať Známka: 4.8 Hodnotiť:
 

On chcel napisat: LIEK :)
Odpovedať Známka: 6.3 Hodnotiť:
 

lebo to je nepodstatna blbost a na zaciatku to bude mega drahe. Samsung nema klientelu, ktorej by to cielil.
Odpovedať Známka: -6.0 Hodnotiť:
 

lebo je to blbost. Apple nic netvori okrem patentov. Patentuje len tak z pleziru, keby nieco. Neverim ze by to malo co i len porovnatelnu vydrz ako sucasne riesenia. Ak by sa to aj neopotrebovalo samo od seba, tak akykolvek naraz do perforovaneho kovu v rozumnej cenovej relacii (nejaky hlinik, zliatina, sekat notebooky z jedneho velkeho kusu titanu urcite nebudu) nemoze vydrzat. a uz len centimerove poskodenie toho vzoru bude znamenat nepohyblivost
Odpovedať Známka: 5.2 Hodnotiť:
 

Podla mna to prestane fungovat hned ako sa to zaspini.
Odpovedať Známka: 6.4 Hodnotiť:
 

takéto vecičky som si tlačil už dávno z pda, dokonca cez wifi a janka mi už len nosila hotové 3D výrobky
Odpovedať Známka: -4.0 Hodnotiť:
 

hovorim. kazda svetova firma by si mala najprv prejst slovenske fora. najde odpoved na vsetko. recenzie bez toho, aby dotycni produkt co i len videli. sme my sikovna republika. len dajak ne a ne vyliezt z tych h.vien. tak jak vy tu vsetci, co ste v nich po krk. keby si vase nazory niekto aj cital, tak dodnes tu behame s kyjakami
Odpovedať Hodnotiť:
 

a co tak patenty na produkty bez toho aby ich ktokolvek videl?

Odpovedať Hodnotiť:
 

a co tak patenty na produkty bez toho aby ich ktokolvek videl?

Odpovedať Hodnotiť:
 

a co tak patenty na produkty bez toho aby ich ktokolvek videl?

Odpovedať Hodnotiť:
 

a co tak patenty na produkty bez toho aby ich ktokolvek videl?

Odpovedať Hodnotiť:
 

a co tak patenty na produkty bez toho aby ich ktokolvek videl?

Odpovedať Hodnotiť:
 

a co tak patenty na produkty bez toho aby ich ktokolvek videl?

Odpovedať Hodnotiť:
 

a presne o to ide. dosiahnut vacsi konzum.

kratsia zivotnost == viac predanych zariadeni

Ak si niekto mysli, ze vsak ked to vydrzi tak kratko kupim to od ineho vyrobcu. Omyl, aj ostatny zacnu pouzivat podobne "vylepsenia", co znamena, ze ocakavana zivotnost sa celkovo skrati.
Odpovedať Známka: 8.0 Hodnotiť:
 

neboj ked to apple vyrobi, samsung skopiruje
Odpovedať Známka: 2.6 Hodnotiť:
 

A z plastu
Odpovedať Známka: 7.4 Hodnotiť:
 

ja tomuto patentu davam Adidas..
Odpovedať Známka: 7.1 Hodnotiť:
 

toto je uz super bomba spica adidas, to ma po milu ... pasikov :-)))
Odpovedať Známka: 5.7 Hodnotiť:
 

Kvalita od firmy Henkel
Odpovedať Známka: 0.7 Hodnotiť:
 

vrat sa na facebook...
Odpovedať Hodnotiť:
 

Pretoze samsung NIC netvori, iba caka, kto co vymysli, aby to mohol okopirovat. Vsetko korejske je iba kopia niecoho ineho.

Tym nechcem povedat, ze vsetky tie kopie su nekvalitne.
Odpovedať Známka: 0.0 Hodnotiť:
 

tak s takymto patentom nie je problem uznat ho, nie nejake pruzinove scrollviewy :-D
Odpovedať Známka: -3.8 Hodnotiť:
 

neboj o 5 rokov tu bude uplne rovnaka debata...ved je to jasne ako facka...ako mohli na toto dostat patent?
Odpovedať Známka: 5.6 Hodnotiť:
 

Ta debata tu mala byt uz dnes. Je to uplne vseobecny patent, bez akehokolvek popisu vyrobnych postupov a materialov. Z toho je jasne, ze nemaju technologiu na jeho realizaciu. Proste len niekoho napadlo, ze si na to daju patent prv ako s tym niekto iny pride na trh.
To je akoby som si dal patentovat neprepichnutelne koleso na auto. Sice neviem ako na to, ale ked to niekto dostane na trh, tak mozem kasirovat.
Odpovedať Známka: 9.0 Hodnotiť:
 

Patentovy system nie je taky jednoduchy ako si tu mnohi myslite. Samozrejme si mozes spravit patent na neprepichnutelne koleso, ale musis k nemu poskytnut podrobnu dokumentaciu atd. inak ti nikto neudeli patent len na samotny napad / myslienku. Konkretne na neprepichnutelne koleso je patentov hned niekolko, ale kazdy je zalozeny na inom principe:) Ak by si si chcel patentovat nejaku somarinu, tak si to hned rozmyslis, ked zistis kolko by ta to vobec stalo :) Alebo mozes vyuzit lacnejsi rychlejsi typ patentovej prihlasky, no s tou nenakasirujes ani cent :)

Druha vec je.. ako vies, ze ide o patent bez vseobecneho popisu? Videl si ho cely? Ved to co tu je, su len "vystrizky". Alebo tebe je uz na pohlad jasne co znamenaju znacky 384, 400 atd? :)))
Odpovedať Známka: -2.0 Hodnotiť:
 

v usa sa da patentovat aj napad
napriklad sony si dala patentovat prenos informacii po ludskom tele a samozrejme je to len vo faze napadu a ziadna kompletna dokumentacia a samozrejme taku technologiu sony dnes nema a ani ju mat tak rychlo nebude
ale keby niekto tu technologiu vyvinul tak ma problem lebo sony ma patent na ten napad :)

a jasne ze takychto patentov su tisice
Odpovedať Známka: 6.8 Hodnotiť:
 

Vies co je sranda? Ze Microsoft ma uplne rovnaky patent, takze asi to iba na myslienke zalozene nebude :)
Odpovedať Hodnotiť:
 

nechaj ich. oni uz maju napisane recenzie. patent nepatent. nevysvetlis psovi na co je danove priznanie.
Odpovedať Hodnotiť:
 

Nechcem ti vela oponovat ani vyvracat tvoju uvahu ktora je na Mieste! Pracujem ako programator laseroveho palenia (Zariadenie TruLaser 3030Fiber). Skusobne sme vypalili ruru podobnym sposobom. Vysledny efekt bol ten ze rura-ocelova tyc mala klb z vlastneho materialu. Uvazujem nad tym IPatentom. Rura je kruhoveho prierezu a drzalo to pokope tym ze sa to rezom ktory sa vyklanal z osi (laser luc)tym vznikly konusy a drzalo to pokope, nerozobratelny spoj. Toto co apple chce musy but z plechu. Teoreticky ah prakticky by to drzalo pokope ako retiazka. No je tu otazka ako zabezpecia tuhost ohybu... Dlhodobu tuhost pantu a zivotnost takehoto riesenia. Je to sice spoj ktory nerozoberies, no po case sa dotykove plochy zoderu, je to kov na kov. Toto co si aple patentovalo, to sa pouziva bezne v technickom priemysle, technologia ide do predu tym aj moznosti. co si o tom myslis?
Odpovedať Známka: 10.0 Hodnotiť:
 

Akoze zoderies? Nasprejujes s WD40 a ides. Sice bude smrdiet dodaleka, ale cer to ber.
Odpovedať Známka: -3.3 Hodnotiť:
 

ja som si myslel ze taketo nieco uz robia na sluchatkach... aspon moje maju tak podobne spraveny jack konektor
Odpovedať Známka: 10.0 Hodnotiť:
 

Nechcem ta sklamat ale take kolesa uz existuju. Vid:http://www.michelintweel.com/
Odpovedať Hodnotiť:
 

aplikacia na sluchatka, to nie je novinka. take som uz mal, nie z jedneho kusu, ale s danym sposobom vytvorenia flexibility.
Aplikacia na laptope - ako zabezpecia, aby ten monitor zostal v danej polohe?
Odpovedať Známka: 9.3 Hodnotiť:
 

ja mám taký patent na hadici od vysávača
Odpovedať Známka: 10.0 Hodnotiť:
 

libreoffice vo valencii. presli na FOSS

http://tinyurl.com/ktx2zle
Odpovedať Známka: -1.3 Hodnotiť:
 

si si pomylil diskusiu :D
Odpovedať Známka: 6.2 Hodnotiť:
 

Ale je to zaujimavejsi prispevok ako citat postrehy igejov.
Odpovedať Známka: 7.1 Hodnotiť:
 

nerozumiem presne tomu patentu.
ale podla obrazkov to vyzera tak ako prstence na hadici co sa pripaja k sprchovacej hlave :)

Odpovedať Známka: 9.5 Hodnotiť:
 

no veď najsôr som si myslel že ten nákres so slúchatkom je sprchová hlavica :)
Odpovedať Známka: 9.5 Hodnotiť:
 

omg apple teraz zakaze sprchovanie :X
Odpovedať Známka: 9.2 Hodnotiť:
 

Sprchovanie nezakáža, iba spoplatní používanie ohybnej hadice. Free verziou zatiaľ ostáva obyčajná gumová hadica, alebo úplne open ostane kúpanie sa v studni alebo v potoku...
Odpovedať Známka: 8.6 Hodnotiť:
 

hahaha davam LIKE
Odpovedať Známka: -3.7 Hodnotiť:
 

To je nova znacka adidasu?
Odpovedať Známka: 5.0 Hodnotiť:
 

A mne zase stredoveke brnenie.
Odpovedať Známka: 8.7 Hodnotiť:
 

Snad ti ho nespoplatnia.
Odpovedať Známka: 7.5 Hodnotiť:
 

tu si mozes pozriet ako inovativny napad apple vyzera z dreva

https://www.snijlab.nl/media/triple/9.jpg
Odpovedať Známka: 8.1 Hodnotiť:
 

... niečo naozaj inovatívne :)
Odpovedať Známka: 4.0 Hodnotiť:
 

Apple si znovu patentoval nieco, co nedokaze vyrobit. Ale co ked raz...
Odpovedať Známka: 5.6 Hodnotiť:
 

Poculi sme slovo odbornika.

Slaaava tebe Kriste.
Odpovedať Známka: -3.8 Hodnotiť:
 

Dvere maji panty z kuze, "vokna" nejsou zaskleny ....
Kde to skonci :)
Odpovedať Známka: 7.8 Hodnotiť:
 

Svetla nesviti, stirace nestiraji... tam to skonci.
Odpovedať Známka: 8.1 Hodnotiť:
 

Klaksony netroubí, smerovky nesvítí...
je to vsetko v háji
Odpovedať Známka: 10.0 Hodnotiť:
 

Tento "patent" máme na našej sprche, snáď tú firmu teraz Apple nebude žalovať.
Odpovedať Známka: 9.3 Hodnotiť:
 

rychlo musim nakupit ohybne sprchove hlavice do zasoby, na ciernom trhu pojdu za velke peniaze :D
Odpovedať Známka: 9.2 Hodnotiť:
 

V podstate nemajú nič a už to patentujú. A zažalujú výrobcov, ktorí dávno zhotovujú ohýbajúce sa vecičky.
Odpovedať Známka: 8.0 Hodnotiť:
 

koho zalovali?
Odpovedať Známka: -8.6 Hodnotiť:
 

Nikoho
Ale teraz ich zazaluje Samsung...
Ten ma ohybny displej a urcite aj tapetu s podobnym vzorom
Odpovedať Známka: 8.0 Hodnotiť:
 

Čakaj. A dočkáš sa!
Odpovedať Známka: 8.3 Hodnotiť:
 

Len aby si nepatentovali samotné ohýbanie, lebo to potom, to potom sme došukali :(
Odpovedať Známka: 9.1 Hodnotiť:
 

"Či spoločnosť technológiu v skutočnosti aj vyvíja pre reálne nasadenie respektíve v akej fáze vývoja v súčasnosti je nie je známe. "

Takže to možno ešte ani reálne nedokážu vyrobiť, ale už si to dajú patentovať. Takže ja si môžem dať patentovať stroj času, pohon umožňujúci dosiahnuť rýchlosť svetla alebo perpetuum mobile a ak to aj v budúcnosti niekto vyvinie, tak najviac na tom zarobím ja alebo už nikdy nikto nebude mať záujem investovať do vývoja týchto technológii, pretože kvôli "obsadenému" patentu to bude nerentabilné. Tí Američania sú už úplne chorí a toto je skutočné "prejedanie budúcnosti" keď niekto si prisvojí to, čo ešte neexistuje. Samozrejme ako čítam fórum, tak iOvce sú už vo vytržení, ako keby ich pretiahol veľký iBaran.
Odpovedať Známka: 7.6 Hodnotiť:
 

...alebo je to ich nápad, no nedokážu to realizovať, tak rýchlo zverejnia ten patent aby to reálne vyrobili Číňania, oni ich zažalujú, dostanú sa k technológii a samozrejme budú tvrdiť, že tá technológia je ich.
Odpovedať Známka: 8.6 Hodnotiť:
 

Nehovoriac, ze nieje to ziadna novinka - ohybacie casti na podobnom principe sa vyuzivaju uz dlhsie v roznych "vyrobkoch". Taktiez by sa malo posudzovat pri patentoch, kto a za akych podmienok pride s navrhom - ak jednotlivec, co nema kapital na realizaciu, tak uznat to za specifickych podmienok.
Ak pride s "napadom" firma, tak nech vyrobi funkcnu vzorku aby sa mohlo hovorit o nejakom realizovani napadu. Inak ako pises si clovek moze patentovat vsetko aj ked pomaly nevie ako to vyrobit alebo na co to ma byt sa mi zda.
Odpovedať Známka: 5.6 Hodnotiť:
 

hm.. podla toho, co píšeš, ked nekdo navrhne,nadesignuje, alebo aj priamo objaví napr. letadlo, lod (aj kozmickú), tank, byciykel, bike, naglev, auto, atd.. alebo neco podobné hi-tech, hocijaký prístroj,stroj, novú vec, nejaký vynález, objav, koncept, tak to musí aj sám zostrojiť ? a kde, jako ? v obývačke, alebo v kuchini.. ? :o
ahj jáj, zabudol som, vlastne v garáži.. ;)
njn, tie garáže.. ;D)
Odpovedať Známka: -5.4 Hodnotiť:
 

Odporucam ti znovu precitat co som napisal. A potom znovu az dovtedy, kym pochopis, ze tento problem som tam spomenul.
Odpovedať Známka: 8.2 Hodnotiť:
 

´´maglev, a pod.hitech vlaky
práve ted mal ten usa-cký multimiliardár (meno si zrovna ted nevzpomenem) announcement, predbežné vyhlásenie, oznámenie, o chystanom vývoji, konštrukcii a prevádzkový tích novích vysokorychlostních "vlakovích" súprav - len jednotlivvé "vozne" ´vystrelené´ a pohánané v ´evacutaed´, takmer vákuovej vzduchotesnej trubicy,tepne, pohánané na princípe neco podobné jako railgun, \ maglev (vo vákuovej rúre)- majú dosahovať na dlhích, rovních tratiach-trubiciach nadzvukovú rýchlosť
Odpovedať Známka: -8.3 Hodnotiť:
 

Joj, na čom to píšeš? Alebo to je jedno. Neviem či plakať alebo sa "rehotať"?
Odpovedať Známka: 8.0 Hodnotiť:
 

Pri patentoch nie je podstatne ci to je novinka alebo nie, ci uz nieco take existuje alebo nie. Podstatne je, aby patent eliminoval konkurencne technologicke procesy a ich substituty. Zober si napr. zips na plastovych sackoch (niekedy aj na obleceni) a klasicky zips od YKK - tiez ide v podstate o to iste, ale rozdiel tam asi vidis... pod jeden patent to urcite nespada :)

Predmet patentu nemusi byt v skutocnosti zrealizovany, no mal by obsahovat podrobny opis, schemy atd. podla ktorych to vyrobis/zrealizujes. Na napad bez podrobnosti ti nikto patent neudeli a je aj v tvojom zaujme, aby si si nepatentoval kadejaku hlupost, kedze patenty stoja nemale peniaze. Teda ak sa bavime o patentoch, ktore maju nejaku hodnotu, pretoze su aj tzv. zrychlene prihlasky, znacky Patent Pending a pod., ktore ta sice stoja tisicinu ceny, ale zaroven pri nich nie je ziadna vymozitelnost a konkurenciu tym obmedzis len tak, ze im tu prihlasku nalepis na celne sklo auta.
Odpovedať Známka: 0.0 Hodnotiť:
 

Hmmm, ten baran mi nieco pripomenul: http://dopice.sk/6Uz
Odpovedať Hodnotiť:
 

Bol by som naozaj vdacny za takyto notebook, ale mam dojem, ze co budeme pocut je PUK PUK
Odpovedať Známka: 6.0 Hodnotiť:
 

toto uz predsa davno funguje.
apple si zas dava vseobecny patent na existujuce principy?
nach idu do psej matere.

Odpovedať Známka: 7.3 Hodnotiť:
 

zaujimave, ze som s tym dodnes este nestretol. ale predpokladam, ze tebe tento patent uz pumpuje aj vodu z pracky a natiera chleba na zeleno..
Odpovedať Hodnotiť:
 

Neviem si zbavit pocitu, ze ten prvy obrazok vlavo hore mi cosi pripomina :-))))
https://www.snijlab.nl/en/p/29/examples
Odpovedať Hodnotiť:
 

len ci tieto patenty po veceroch nestuduje konkurencia, aby to okopirovali presne podla navodu, v tom pripade maju tie patenty presne opacny efekt :)

na druhej strane, oni si to tam aj tak vsetci nakoniec daju vyrobit takze naco kopirovat ked bude pod palcom vyrobna linka originalu
Odpovedať Hodnotiť:
 

Na tretom obrazku(prvy z dola) v lavo je vzor co mi pripomina nieco ako "panelky". mam to este doma kdesi, taka skladacka. Neviem ci sa to tak vola oficialne... Boli farebne a medzi ne sa vkladali take biele kusy. A tiez sa s tym dalo otacat. Obrazok som nenasiel :/
A myslim ze ten cikcak vzor na pravo sa pouziva(l) na rohoze do kupelne :D alebo do vane.
Mhmm ako sa toto da patentovat??
Odpovedať Hodnotiť:
 

som pysny na to ze navstevujem forum kde 9 z 10 ludi su spickovi odbornici. Dnes su to odbronici na materialove inzinierstvo a patentove pravo, zajtra pod inym clankom na ekonomiku alebo spickove manazerske vedenie firmy. cudujem sa ze slovensko je v takych srackach, ked tu mame sameho Ballmera, Jobsa a inych :) a to polovica z nich este ani nedovrsila dospelost...parada! :)
Odpovedať Známka: 1.8 Hodnotiť:
 

a ty nemas vlastny nazor alebo o futbale mozu hovorit len futbalisti?
-------------------------------------
http://toaster.dyndns-web.com/dsl.sk/
Odpovedať Známka: 6.7 Hodnotiť:
 

Tento napad je strasne stary. Laserove rezacky preglejky to uz 20-30r pouzivaju :( je to trivialny napad ktory napadne kazdeho normalneho cloveka co mal to stastie hrat sa v skolke s papierom a noznickami , teraz je to ale patentovane. Hura.
Odpovedať Známka: 8.3 Hodnotiť:
 

Äpl je známy svojimi "kurvidlami", takže ktovie, či z toho nebudú pánty, ktoré vydržia 2 roky a 1 týždeň...
Odpovedať Hodnotiť:

Pridať komentár